服務熱線
021-33617555
全國服務熱線:
021-33617555
CS11H自由浮球式疏水閥本產品根據浮力的原理,使測體內的浮球隨水位變化作升降運動,以達到閥門啟閉,即排水阻汽的作用。
本產品根據浮力的原理,使測體內的浮球隨水位變化作升降運動,以達到閥門啟閉,即排水阻汽的作用。
結構特點
1、有自動排冷空氣裝置,無汽鎖現象,工作平衡無噪音。
2、能連續排水、性能穩定、排水量大、漏水量小。
3、能排連續飽和水,至使設備凝結水滯存量較少、升溫快,加熱溫度穩定。
CS41H法蘭式、CS11H螺紋式自由浮球式蒸汽疏水閥以結構簡單、性能好,動作靈敏、有水就排,背壓率高等優點,很快地在蒸汽領域得到廣泛使用。不過,每種產品都有它不足的地方,就自由浮球式疏水閥來說,首先由于它的浮球是個空心球體,所以在承受水擊方面就不及古老的倒吊桶式、圓盤式疏水閥;還有由于這種疏水閥的阻汽是靠球體與閥嘴孔的密封來完成,所以對球體的真圓度要求很高,這種高精度的浮球是保證它質量的關鍵。
自由浮球式疏水閥產品介紹:
自由浮球式蒸汽疏水閥是近年來的蒸汽疏水閥之一,能將蒸汽管道內及供熱設備中的凝結水及時排出,并阻止蒸汽泄漏,該產品廣泛用于石油、化工、輕紡、印染、制藥、造紙、食品等工況企業。
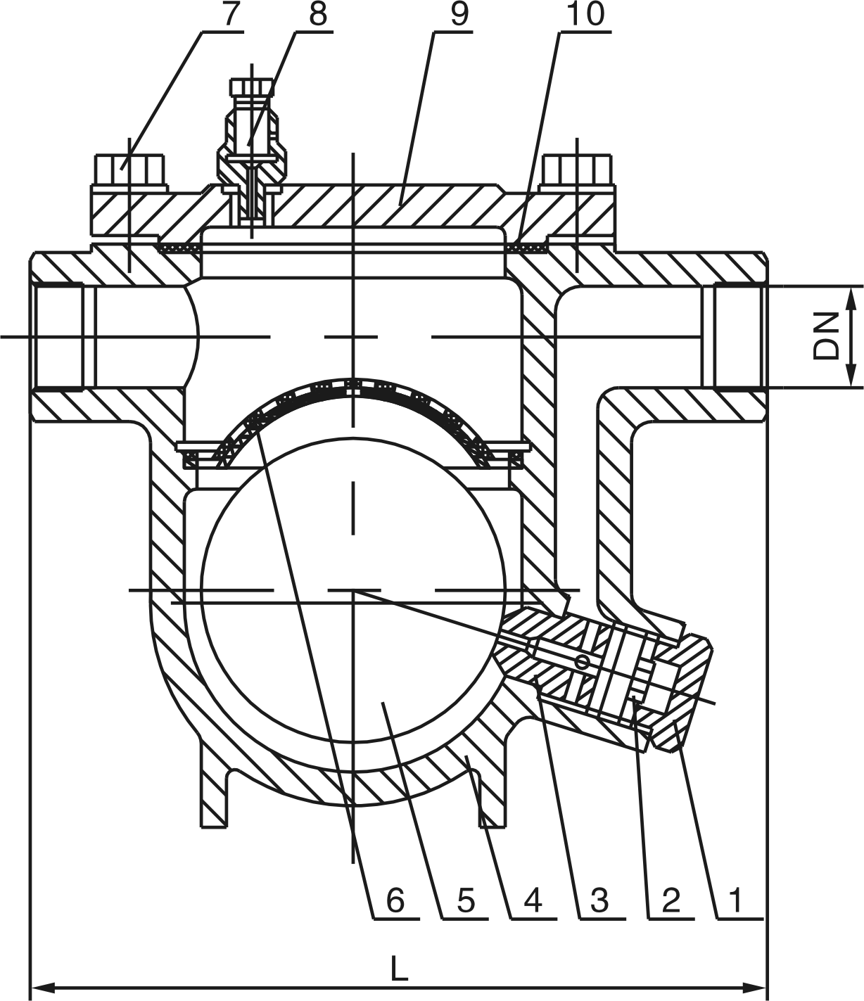
自由浮球式疏水閥結構特點:
1、能連續排水性能穩定,排水量大,漏氣率小,背壓率高。
2、不銹鋼空心自由浮球是閥門主要部件,采用不銹鋼高清度研磨的圓浮球。
3、內部零件。均為不銹鋼,抗腐蝕、耐磨損、使用壽命長。
性能特點:
1.能連續排放飽和凝結水加熱設備不會有水積聚,從而獲得高熱效率;蒸汽壓力變化時不受影響浮球能自動調節閥座孔的開度,工作連續,性能穩定.
2.排空氣性能好有自動或手動排空氣裝置,無氣鎖現象工作平穩無噪音。
產品用途:
用于蒸汽加熱設備和凝結水回收系統及需要快帶排除凝結水的工況,能自動、迅速、連續地排除凝結水,有效地阻止蒸汽泄漏,并獲得好的加熱效果。
自由浮球式疏水閥:結構簡單,內部只有一個活動部件精細研磨的不銹鋼空心浮球,既是浮子又是啟閉件,無易損零件,使用壽命很長,疏水閥內部帶有Y系列自動排空氣裝置,非常靈敏,能自動排空氣,工作質量高。自由浮球式疏水閥的閥座總處于液位以下,形成水封,無蒸汽泄漏,節能效果好。****工作壓力0.01Mpa,從0.01Mpa至****使用壓力范圍之內不受溫度和工作壓力波動的影響,連續排水。


